Wiring Diagram For Chamberlain Garage Door Opener | Wiring Diagram – Garage Door Opener Wiring Diagram

Wiring Diagram For Chamberlain Garage Door Opener | Wiring Diagram – Garage Door Opener Wiring Diagram

garage door opener wiring diagram – You will want an extensive, expert, and easy to know Wiring Diagram. With this kind of an illustrative guidebook, you’ll be able to troubleshoot, prevent, and complete your assignments without difficulty. Not only will it enable you to achieve your required outcomes more quickly, but also make the entire process simpler for everyone. This e-book can show for being the right instrument for all individuals who wish to develop a well-organized and well-planned operating environment.

Wiring Diagram For Liftmaster Garage Door Opener | Schematic Diagram - Garage Door Opener Wiring Diagram

Wiring Diagram For Liftmaster Garage Door Opener | Schematic Diagram – Garage Door Opener Wiring Diagram

Wiring Diagram will come with a number of easy to follow Wiring Diagram Directions. It is meant to aid all the typical person in building a suitable system. These guidelines will likely be easy to grasp and implement. With this guidebook, you may be in a position to determine how every element ought to be linked and the precise steps you should consider to be able to successfully total a specific activity.

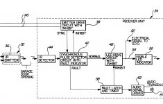
Garage Door Control Wiring | Best Wiring Library - Garage Door Opener Wiring Diagram

Garage Door Control Wiring | Best Wiring Library – Garage Door Opener Wiring Diagram

Wiring Diagram contains many comprehensive illustrations that display the link of varied items. It consists of directions and diagrams for various varieties of wiring strategies as well as other items like lights, windows, etc. The guide incorporates a lot of useful techniques for different circumstances that you could experience when you are dealing with wiring issues. Each one of these ideas are illustrated with sensible examples.

Wiring Diagram Electric Garage Door - Wiring Diagrams Hubs - Garage Door Opener Wiring Diagram

Wiring Diagram Electric Garage Door – Wiring Diagrams Hubs – Garage Door Opener Wiring Diagram

Wiring Diagram not only offers detailed illustrations of everything you can perform, but in addition the methods you need to adhere to whilst doing so. Not merely can you find different diagrams, however, you also can get step-by-step instructions for a specific venture or subject that you’d prefer to know more details on. It’s going to permit you to grasp distinct ways to complex problems.

3 Button Garage Door Wiring Diagram For Control | Wiring Diagram - Garage Door Opener Wiring Diagram

3 Button Garage Door Wiring Diagram For Control | Wiring Diagram – Garage Door Opener Wiring Diagram

Furthermore, Wiring Diagram provides you with enough time body during which the assignments are to be completed. You may be in a position to learn precisely when the assignments needs to be finished, that makes it much easier for you personally to correctly manage your time and effort.

Garage Door Wiring Schematic - Today Wiring Diagram - Garage Door Opener Wiring Diagram

Garage Door Wiring Schematic – Today Wiring Diagram – Garage Door Opener Wiring Diagram

Wiring diagram also provides useful ideas for assignments that might require some added tools. This book even includes ideas for additional materials that you may need as a way to complete your assignments. It will be in a position to supply you with additional tools like conductive tape, screwdrivers, wire nuts, and so on. It will also include materials you might need to total straightforward assignments.

Genie Intellicode Garage Door Wiring Diagrams Garage Door Garage - Garage Door Opener Wiring Diagram

Genie Intellicode Garage Door Wiring Diagrams Garage Door Garage – Garage Door Opener Wiring Diagram

Wiring Diagram includes the two examples and step-by-step guidelines that will permit you to definitely truly build your venture. This really is beneficial for the two the people and for experts who are seeking to find out more regarding how to established up a working environment. Wiring Diagrams are made to be easy to comprehend and easy to create. You’ll be able to discover this manual easy to utilize as well as really cost-effective.

Garage Door Opener Wiring Diagrams | Manual E-Books - Garage Door Opener Wiring Diagram

Garage Door Opener Wiring Diagrams | Manual E-Books – Garage Door Opener Wiring Diagram

You’ll be able to often depend on Wiring Diagram as an crucial reference that may assist you to conserve time and money. With the help of the book, you can effortlessly do your own wiring assignments. No matter what you will need it for, you’ll be able to often discover a listing of different materials that you will need to perform a job. Moreover, this e-book gives useful ideas for many different projects that you simply will be in a position to complete.

Wiring Diagram For Chamberlain Garage Door Opener | Wiring Diagram - Garage Door Opener Wiring Diagram

Wiring Diagram For Chamberlain Garage Door Opener | Wiring Diagram – Garage Door Opener Wiring Diagram

Watch The Video of garage door opener wiring diagram